Ух ты, чо захотел! Там и Бритвой не очень-то подберёшься.Snelius писал(а):Сразу вопрос как брить щетину которая растёт поперёк шеи.
|
|
|
|
||||||||||||||||||||
|
|
|
|
||||||||||||||||||||
|
Текущее время: 17.12.25, 23:36 На Ваш суд-новая конструкция электробритвыМодераторы: Олег Бритва, Модераторы
Re: На Ваш суд-новая конструкция электробритвы...и немедленно выпил.
Re: На Ваш суд-новая конструкция электробритвыВсем здравствуйте!
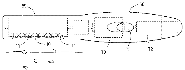
Вроде в основном заявка оформилась и будет иметь такой вид: Формула изобретения 1. Отличается тем, что шток с закрепленными на нём пластинчатыми ножами с одной стороны присоединён к электроприводу возвратно-поступательного движения, а его другая сторона есть свободной и не закреплённой. 2. Отличается тем, что режущий блок может быть выполнен овальной формы. 3. Отличается тем, что одна сторона сетчатого ножа выполнена с отверстиями обычного диаметра, а другая с отверстиями диаметром больше. 4. Отличается тем, что внутренний подвижный нож имеет способность изменять свои геометрические размеры. 5. Отличается тем, что внутренний подвижный нож состоит из минимум 2 сегментов. 6. Отличается тем, что в конструкции прибора имеется индикатор (электронный, механический) уровня прижимания подвижного ножа к стенкам сетчатого ножа. 7. Отличается тем, что имеет в своей конструкции опорный подвижный элемент, который используется как триммер. 8. Отличается тем, что устройство для зарядки элемента питания прибора может устанавливаться на гладкой вертикальной поверхности. 9. Отличается тем, что может использоваться при полном погружении в воду. Список обозначений 1. Пустотелая сетчатая трубка с отверстиями разного диаметра 2. Подвижный опорный сегмент короткий 3. Подвижный опорный сегмент длинный 4. USB разъём для заряда элемента питания 5. Герметичная крышка 6. Устройство индикатора уровня прижима подвижных ножей к пустотелой сетчатой трубке 7. Линейный подшипник 8. Электропривод возвратно-поступательного движения 9. Аккумуляторный элемент питания типа ААА 10. Уплотнительная прокладка 11. Вал электропривода 12. Сегменты внутреннего подвижного ножа (мин.2) 13. Шток с резьбой 14. Зарядное устройство 15. Выступ с резьбой для фиксации герметичной крышки во время зарядки 16. Футляр-тубус герметичный дорожный 17. Присоска для крепления зарядного устройства к вертикальной поверхности 18. Выступы на внутренней поверхности сегмента подвижного ножа 19. Выступы на штоке 20. Герметичная нажимая кнопка включения питания 21. Индикатор уровня прижима подвижных ножей к пустотелой сетчатой трубке. Заранее благодарен за все высказанные мнения и советы!
Re: На Ваш суд-новая конструкция электробритвы Александр Юрьевич а экспериментальный образец уже имеется? Или только чертежи? Я к тому веду что в теории выглядит очень перспективно, а вот на практике может неприятный сюрприз подкинуть. Мы тут недавно рекламу лазерной бритвы видели, так у изобретателей кроме чертежей и видео, даже рабочего образца нету. Потому что придумать это одно, а вот воплотить изобретение это совсем другое дело. Иногда теория и практика не сходятся.
Если выбираешь не ты, значит выбирают за тебя!
Re: На Ваш суд-новая конструкция электробритвыВ данный момент есть только чертежи и международный патент на изобретение. Изготовить опытный действующий образец в домашних условиях нереально, поскольку для изготовления полой сетчатой трубки необходимо специфическое оборудование для гальванопластики. Сейчас жду реакции производителей, которых, к слову, на планете больше чем полсотни...
Re: На Ваш суд-новая конструкция электробритвы Александр Юрьевич Жаль конечно что нет образца, было бы легче заинтересовать производителей. Ну удачи тебе в продвижении твоего изобретения на мировой рынок.
Последний раз редактировалось Пастор 19.12.15, 12:26, всего редактировалось 1 раз.
Если выбираешь не ты, значит выбирают за тебя!
Re: На Ваш суд-новая конструкция электробритвыИнформация для сравнения:
1. Площадь контакта режущего блока с кожей лица у сетчатой бритвы Panasonic ES-LV61-K280 составляет около 18см.кв. 2. Площадь контакта режущего блока с кожей лица у роторной бритвы Philips RQ 1151/16 составляет около 10 см.кв. 3. Площадь контакта режущего блока с кожей лица у трубчатой бритвы с овальным режущим блоком с габаритами, как у вышеназванных приборов, составляет около 20 см.кв. Re: На Ваш суд-новая конструкция электробритвычто-то мне кажется, что эта "площадь контакта" совсем не главное.
Re: На Ваш суд-новая конструкция электробритвыПлощадь контакта, толщина и форма сетки и скорость движения ножей, вроде бы...
Re: На Ваш суд-новая конструкция электробритвымне тоже кажется что главное как она будет брить. А брить она будет так же, как и другие, ибо принцип один и тот же. Почему пользователь должен будет выбрать такой форм-фактор? Надо рекламную фичу. Перестаньте тереть, не успеваю выделять смазку !!!
Re: На Ваш суд-новая конструкция электробритвыОчень замечательное выражение "форм-фактор"! Вот именно он самый и придаёт прибору новые свойства и характеристики.
Re: На Ваш суд-новая конструкция электробритвыкакие именно?
Перестаньте тереть, не успеваю выделять смазку !!!
Re: На Ваш суд-новая конструкция электробритвы1. Простота конструкции, соответственно, невысокая цена прибора, более высокая надёжность и простота обслуживания.
2. Миниатюрность-возможность изготовить прибор с размерами авторучки. 3. Наличие отверстий большего диаметра на сетчатой трубке позволит сбрить длинную щетину. 4. Овальная форма режущего блока позволяет использовать поверхность с меньшим радиусом в сложных местах (возле носа, подбородок), а поверхность с большим радиусом для щёк и шеи. 5. Площадь режущей поверхности прибора сопоставима с площадью 5-головочной сеточной бритвы. 6. Герметичная конструкция прибора позволит использовать его при полном погружении в воду (в качестве эпилятора). 7. Данная конструкция подвижных ножей и возможность регулировки степени прижима подвижных ножей к сетчатой трубке позволит применить сетку меньшей толщины. 8. В конструкции предусмотрен подвижный опорный сегмент, который одновременно является и триммером.
Re: На Ваш суд-новая конструкция электробритвы1. все спорно, все не сложные, легко обслуживаемые, порядок цен тоже различный
2. меньший размер - меньше мощность ротора, менее емкий аккумулятор и все вытекающие 3.4.5. эти рекламные фишки катят 6. у многих это есть 7. здесь не понял плюса, мне как конечному пользователю сетка нужна толще, чтоб реже менять. 8. ну триммером вообще не удивить, а китайские карманные вообще любых форм и вариантов Я в электробритвах вообще не понимаю, есть одна, не знаю куда деть, так что пишу как чайник, который решил, к примеру, купить такой прибор Перестаньте тереть, не успеваю выделять смазку !!!
Re: На Ваш суд-новая конструкция электробритвы1. В споре рождается истина... Относительно простоты существующих электрических приборов для бритья: количество деталей в Panasonic ES-LV61-K280 составляет около 130 штук, в данной конструкции-около 25.
По поводу обслуживания-попробуйте быстро и легко заменить или почистить режущий блок у того же Panasonic или Philips. Относительно цены: не может прибор из 25 деталей стоить также, как прибор из 130 деталей (по крайней мере, не должен). 2. Абсолютно согласен, но миниатюрный прибор-это дорожный аксессуар, который нужен для одного бритья на одной зарядке. Хотя, нынешнее состояние технологий и электротехники позволяет из миниатюрных элементов получить достаточную мощность и ёмкость. 3.4.5. Благодарю! 6. Но никто не даёт возможности использовать прибор при полном погружении в воду (например, женщинам эпилировать ноги, принимая ванную). 7. Чем тоньше сетка, тем чище бритье. Для того, чтобы она служила дольше, в её производстве применяются вместо обычных нержавейки и хрома композитные материалы. Это при том, что производитель был бы счастлив, если эту сетку нужно было бы менять каждый месяц. 8. Триммер-как дополнение к многофункциональности.
Re: На Ваш суд-новая конструкция электробритвыПрочитал про площадь контакта в 20 кв. см.
Как это ты себе представляешь? Цилиндр у которого высота около 5 см. касается кожи пятном шириной около 4 см?????????????? Это как? Морда лица оборачивается вокруг цилиндра? 1. Максимум площади будет не более 5-6 кв. см., что значительно хуже конкурентов. 2. Кистевой сустав против плавающих в 3 осях головок это вообще ниочем. 3. Чем тоньше сетка, тем... тем она податливее деформациям. Возможно я чего то не понял, (мне как гуманитарию простительно) но чем будет обеспечиваться в данной конструкции поддержка жесткости данной жестяночки? Ведь жестко закреплен только один конец цилиндра, а второй конец ничем не защищен от первого изобретения Архимеда. А скручивающие усилия на незакрепленном конце будут значительные, рячаг воздействия там будет хороший. 4. И самое главное. Эта конструкция уже успешно производилась дядюшкой Ляо на коленке в нулевые. Китайский рынок в Уссурийске и Хабаровске был завален подобной продукцией, предназначавшейся правда для стрижки окатышков с шерстяных пальто. И дядя Ляо прогорел по причине закона рычага. Девайса хватало ровно на пол рукава. 32 года активно мусолю харю клинковой бритвой
Re: На Ваш суд-новая конструкция электробритвыИстория показывает что зацикливание на какой то фиктивной идее не движет прогрессом, а наоборот ведет его в тупик.
Устройства на зацикленной идее себя не оправдывают, наоборот они как правило имеют кучу НЕУСТРАНИМЫХ недостатков, попытка устранить которые является костылями для идеи неправильной изначально. Примеры: Компоновка европейских танков с разнесенным двигателем и приводом (корма-нос) неоправданно утяжеляла танки и вела к порочному кругу мощность двигателя - вес танка - мощность двигателя. Изначально порочная идея компоновки АК-47 и всего выплода - несоосность ствола и приклада подпирается костылями компенсаторов, противовесов и подвишной фальш-ствольной коробкой с тросиками. Разница лишь в том, что немцы в ВОВ быстро поняли ошибку и уже к 1943 ее исправили, а наши оружейники ждут кочины М.В. чтобы потом все переделывать и догонять конкурентов уже 30 лет назад это осуществивших. 32 года активно мусолю харю клинковой бритвой
Re: На Ваш суд-новая конструкция электробритвыкак по мне так идея имеет место жить, ну не пойдет бритва у мужчин, так просто меняем железную сетку на латексную насадку и вуаля, и архимедова сила работает во благо
Перестаньте тереть, не успеваю выделять смазку !!!
Re: На Ваш суд-новая конструкция электробритвыбыл такой вот концепт круговой бритвы в 2010 годуЖ
http://chip.com.ua/789050.html" onclick="window.open(this.href);return false;
Re: На Ваш суд-новая конструкция электробритвы"Прочитал про площадь контакта в 20 кв. см."
Немного невнимательно прочитали, ибо там сказано о цилиндре овальной формы. У круглого цилиндра так и будет-5...6см.кв. Но можно и мордой лица оборачиваться вокруг цилиндра... "Кистевой сустав против плавающих в 3 осях головок это вообще ниочем." По Вашему утверждению получается, что все зубные щетки, опасные бритвы, одноразовые станки, кассетники и Т-шки-это вообще ниочем? Там ведь тоже кистевой сустав применяется? "Чем тоньше сетка, тем... тем она податливее деформациям. Возможно я чего то не понял, (мне как гуманитарию простительно) но чем будет обеспечиваться в данной конструкции поддержка жесткости данной жестяночки? Ведь жестко закреплен только один конец цилиндра, а второй конец ничем не защищен от первого изобретения Архимеда. А скручивающие усилия на незакрепленном конце будут значительные, рячаг воздействия там будет хороший." Опорным элементом в данной конструкции режущего блока является шток с закреплёнными на нём ножами, который жёстко соединён с электроприводом. Возможная проблема "консольности" конструкции (это определение подходит больше, чем первое изобретение Архимеда и рячаг воздействия), решается тем, что в конструкции предусмотрен подвижный опорный сегмент, который одновременно является и триммером. Полной уверенности нет, но есть надежда, что данная конструкция должна работать и без этого сегмента, ибо бреясь традиционной бритвой, никто не вдавливает её в лицо, а относительно разумно прижимает. "И самое главное. Эта конструкция уже успешно производилась дядюшкой Ляо на коленке в нулевые. Китайский рынок в Уссурийске и Хабаровске был завален подобной продукцией, предназначавшейся правда для стрижки окатышков с шерстяных пальто. И дядя Ляо прогорел по причине закона рычага. Девайса хватало ровно на пол рукава." И самое главное. Жаль дядюшку Ляо, хороший был мужик. Не знаю, в нулевых не приходилось посетить ни замечательный город Хабаровск, ни ещё лучший город Уссурийск, и к сожалению, не довелось увидеть ТО китайское чудо. Вполне возможно, что оно было (если Вас не затруднит, какую либо информацию, фото или ссылку на данный продукт). Ещё больше не понимаю, как в нулевых ушлый дядюшка Ляо не додумался запатентовать эту конструкцию, а в 2012 бестолковые японцы из Кюсю Hitachi Maxell, Ltd получили патент на изобретение JP 2012024415, и одним из пунктов формулы есть пресловутая "машинка для удаления катышков ткани"? И кажется мне, японцы не те люди, которые выбрасывают деньги на бесполезные и неработающие вещи (только обязательные платежи для получения национального патента на изобретение в Японии составляют около 1500$) Кто сейчас на конференцииСейчас этот форум просматривают: нет зарегистрированных пользователей и 5 гостей | |
|
|
|
|
||||||||||||||||||||||||||||||||||||
