|
|
|
|
||||||||||||||||||||
|
|
|
|
||||||||||||||||||||
|
Текущее время: 18.11.25, 8:05 F. KIKO HERFORDМодераторы: Олег Бритва, Модераторы
F. KIKO HERFORDПриобрел вот такую бритовку. Может кто поделится информацией о производителе. С обратной стороны эрля надпись F. KIKO HERFORD
Re: F. KIKO HERFORDА можно значёк в полный рост. Ничего не видно...
Ремонт опасных бритв, звонить с 11-00 до 23-00, +79267729357, (whats app, telegram, VK), спросить Олега.
YOUTUBE Олег Бритва INSTAGRAM Олег Бритва
Re: F. KIKO HERFORDПока не могу, бритва в пути. В верху над аббревиатурой FKH, надпись GOLDENE MEDAILLEN
Re: F. KIKO HERFORDВот так получше и попонятней, но всё равно инфы пока ноль. Склонен думать что Herford в данном случае - город.
Ремонт опасных бритв, звонить с 11-00 до 23-00, +79267729357, (whats app, telegram, VK), спросить Олега.
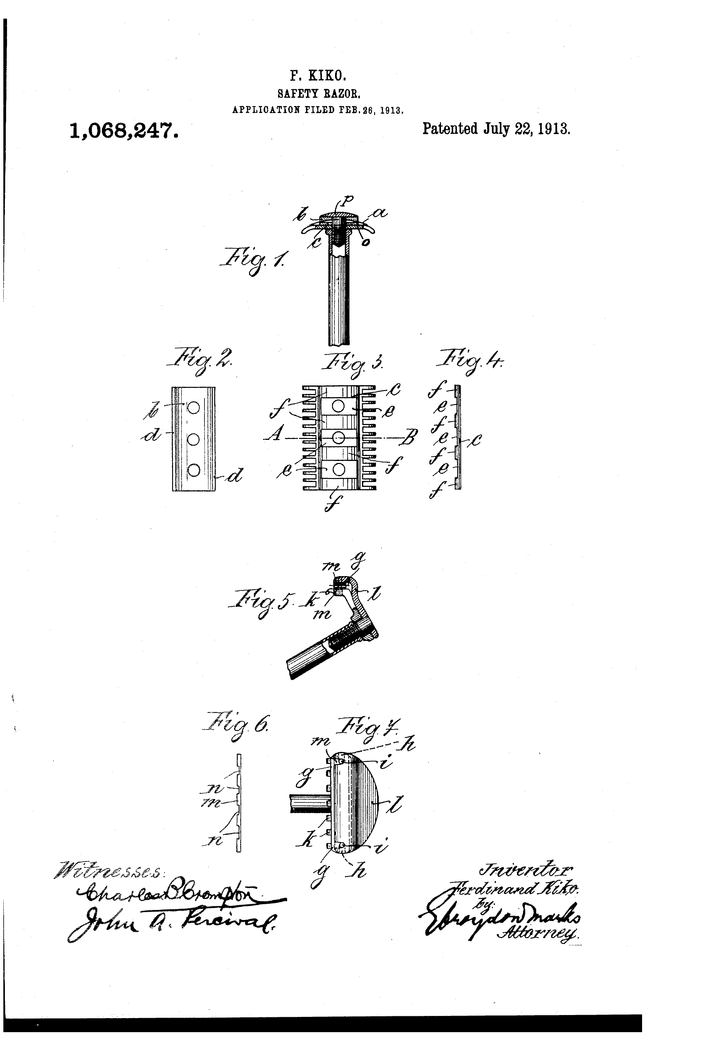
YOUTUBE Олег Бритва INSTAGRAM Олег Бритва Re: F. KIKO HERFORDНашел интересный патент от 22 июля 1913.
Spoiler Show F. KIKO. SAFETY RAZOR. APPLIOATON FILED TBB-28, 1913. 1,068,247. Patented July 22, 1913. unrTEn sTATEs PATENT oEErcE. . FEBilDINANl-D KIKO, 0I" HERFORD, GERMANY,YASSIGNOB TO THE FIRM OF CARL PFLUGBEIL CO., OF BERLIN, GERMANY. SAFETY-nuora. Specification of Letters Patent. Patented July e2, 1913. To all whom t may concern.' ` Be it known that I, FERDINAND Kino,4 subject of the King of Prussia, residing at Bahnhoftrasse, Herford, German Vhave invented certain new and useful mprovements in Safety-Razors, of which the following is a specification. This invention relates to certain improvements in safety razors of the type having a thin i'exible blade, and has forits object to provide a construction'wherein the blade will be elestically supported near its cutting edge butheld rigid transversely, and for this purpose the blade is clamped between two strips of' soft rubber or other elastic material preferably of such form that the blade is supported not over its whole surface but only at individual points, thus enabling the cutting edve ofthe blade to beni more easily longitudinally, so as to adapt itself to the skin of the user. v i. In order that-,the invention may be more clearly understood, reference is made to the accompanying drawings, whereon two cm bodimentsof the invention are illustrated by vvav of example. lili ure l 1s a sectional view through a doub e-edgedv safety razor constructed according to the present invention and taken substantially on the line AB of Fig. 3. Figr 2 is an inverted plan view ofthe upper strip of elastic material. Fig. 3 is a plan of Fig. I with the upper elastic material, the blade and the backing removed, and Fig. 4 is a side view of the lower strip of elastic material. Fig. 5 is a sectional view show ing the invention as applied to a single` edged safety razor. Fig. 6 is a side view of one of the strips of elastic material employedv in connection withthe razor illus-` trated in Fig. 5, and Fig. 7 is a plan view of the razor shown in Fig. 5.A A VIn the double-'edged safety razor illustrated in Figs. l to 4t`he razor blade a is' clamped between the guard 0 and backing p between two strips b and c of elastic material, such as soft rubber, the upper strip 7) being concave on its under side, so as to form longitudinal projections d onthe lower side ofthe strip. The upper sideof the strip c is formed convex and provided with recesses c' as shown in Figs. 3 anda, thus forming convex projections f adapted to y support the razor blade a at different points in its length. It will thus be seen that the blade is elastically supported longitudinally on both sides near its cutting edge by the strips of soft rubber, while being clamped rigidly transversely. The blade is thus prevented from vibration in its holder but, at the same time, its cutting edge is capable of adapting itself longitudinally to the skin of the user. Moreover, the recesses e enable the cutting edge of the blade to bend more easily longitudinally, so that it readily adapts itself to any unevenness of the skin.- Figs. 5, 6 and 7 illustrate the application of my invention to a single-edged safety razor having a reversible thin blade of very' nar row dimensions. The blade g is slotted at its ends at h to receive pins e' projecting from the guard Il: so as to position the blade relaltively to the guard. On both sides ofthe blade g and between the backing Z and guard fl: are narrow elastic strips m of soft rubber or the like,y one or both of which are provided with recesses n at suitable distances apart so that the razor bladeg is only supported atindividual points in order to enable the cutting edge of the blade to bend more readily longitudinally while the blade is clamped rigidly transversely. 1. In a safety razor having a thin flexible blade, a backing and guard, and means for positioning and clamping said blade between said backing and guard; stri-psl of elastic material on both sides of said blade and' clamped between said backing and ua'rd, said strips supporting the blade near its cutting edge so as to form an elastic support for the cutting edge longitudinally on both sides thereof while rigidly clamping the blade transversely. 2. In a safety razor having a thin flexible blade, a backing and guard, and means' for positioning and clamping said blade between said backing and guard strips of soft rubber on both sides of said blade and clampedbetween said backing and guard, said strips supporting the blade near its cutting edge so as toform anv elastic sup port for the cutting edge longitudinally on both sides thereof whi e rigidly clamping 5 the blade transversely. 3, In a safety razor having a thin lflexible icc blade, a backing and guard, and means for positioning and clamping said blade petween said backing and guard; strips of elastic material on bot-h sides of said blade and clamped between said backing and guard, one of said strips having recesses on the side adjacent to the blade, said strips supporting the blade near its cutting edge so as to form an elastic support for the cutting edge longitudinally on both sides thereofy while rigidly clamping the blade transversely. 4. In a safety razor having a thin exible blade, a backing and guard, and means for positioning and clamping said blade be tween said backing and guard; strips of soft rubber on both sides of said blade and clamped between said backing and guard, one of said strips having recesses on the side adjacent to the blade, said strips supporting the bladevnear its cutting edge so as to form an elastic support for the cutting edge longitudinally on both sides thereof while rigidly clamping the blade transversely. 5. In a safety razor having a thin narrow flexible blade having a double cutting edge, a backing and guard, and means for reversibly positioning and clamping said blade be tween said backing and guard; strips of elastic material on both sides of said blade and clamped between said backing and guard, said strips supporting the blade near its cutting edge so as to form an elastic support for the cutting edge longitudinally on both sides thereof while rigidly clanzping the blade transversely. 6. In a safety razor having a thin narrow flexible blade having a double cutting edge, a backing and guard, and means for reversibly positioning and clamping said blade between said backing and guard; strips of soft rubber on both sides of said blade and clamped between said backing and guard, said strips supporting the blade near its cutting edge so as to form an elastic support for the cutting edge longitudinally on both sides thereof while rigidly clamping the blade transversely. 7 In a safety razor having a thin narrow flexible blade having a double cutting edge, a backing and guard, and means for reversibly positioning and clamping said blade between said backing and guard; strips of elastic material on both sides of said blade and clamped between said backing and guard, one of said strips having recesses on the side adjacent to the blade, said strips supporting the blade near its cutting edge so as to form an elastic support for the cutting edge longitudinally on both sides thereof while rigidly clamping the blade transversely. 8. In a safety razor having a thin narrow flexible blade having a double cutting edge, a backing and guard, and means for reversibly positioning and clamping said blade between said backing and guard; strips lof soft rubber on both sides of said blade and clamped between said backing and guard, one of said strips having recesses on the side adjacent to the blade, said strips supporting the blade near its cutting edge so as to form an elastic support for the cutting edge longitudinally on both sides thereof while rigidly clamping the blade transversely. 9. In a double-edged safety razor having a thin flexible blade having a double cutting edge, a backing and guard, and means for positioning and clamping said blade between said backing and guard; an upper strip of elastic material concave transversely on its under side between said blade and backing and a lower strip of elastic material convex transversely on its upper side between said blade and guard, said strips supporting the blade near its cutting edge so as to form an elastic support for the cutting edge longitudinally on both sides thereof while rigidly clamping the blade transversely. 10. In a double-edged safety razor having a thin flexible blade having a double cutting edge, a backing and guard, and means for positioning and clamping said blade between said backing and guard; an upper strip of soft rubber concave transversely on its under side between said blade and backing and a lower strip of soft rubber convex transversely on its upper side between sai-d blade and guard, said strips supporting the blade near its cutting edge so as to form an elastic support for the cutting edge longitudinally on both sides thereof while rigidly clamping the blade transversely. ll. In a double-edged `safety razor having a thin flexible blade having a double cutting edge, a backing and guard, and means for positioning and clamping said blade between said baclring and guard; an upper strip of elastic material concave transversely on its under side between said blade and backing and a lower strip of elastic material convex transversely on its upper side between said blade and guard, said lower strip having recesses in its convex side and said strips supporting the bl.;de near its cutting edge longitudinally on both sides thereof while rigidly clamping the blade transversely. 12. In a double-edged safety razor having a thin fiexible blade having a double cutting edge, a backing and guard, and means for positioning and clamping said blade between said backing and guard; an upper strip of soft rubber concave transversely on its under side between said blade and backing and a lower strip of soft rubber convex transversely on its upper side between said In testimony whereof I alx mv signature 1n presence of two Witnesses. FERDINAND Km0. Witnesses CARL BoRoWsKo, GUSTOW BUssE. Полагаю, этот одаренный хлопец и изготовил предмет данной темы-FKH, потянувшей на золотые медали. Обязательно бахнем. И не раз. Весь мир в труху. Но потом. (с)
Re: F. KIKO HERFORDПо иронии судьбы господин Ф. Кико сначала лечил облысение (найдено несколько объявлений в газетах за 1894-1901 года), а потом стал продавать бритвы)))
Re: F. KIKO HERFORDУмный товарищ, вылечил всех лысых в округе, а потом,
чтобы не остаться без работы, принялся их стричь и брить... ) Бесит, когда приходится пользоваться бритвой моложе себя...
Кто сейчас на конференцииСейчас этот форум просматривают: нет зарегистрированных пользователей и 4 гостя | |
|
|
|
|
||||||||||||||||||||||||||||||||||||
