|
|
|
|
||||||||||||||||||||
|
|
|
|
||||||||||||||||||||
|
Текущее время: 20.12.25, 19:13 Выбор лезвия к Т-образному станкуМодераторы: Олег Бритва, Модераторы
Re: Выбор лезвия к Т-образному станкуВ продаже в Киеве Спутника навалом, равно как и других лезвий))) Имеется в виду- альтернативы для моей кожи нет) Как попробую другую марку (последние были индийские Супер-Макс), так 2-3 недели кожу лечить приходится
Волхвы не боятся могучих владык,
А княжеский дар им не нужен; Правдив и свободен их вещий язык И с волей небесною дружен. А. С. Пушкин. Песнь о вещем Олеге.
Re: Выбор лезвия к Т-образному станку"Каждому своё" это древний юридический термин. Означает что "каждому по заслугам". Кто грабил тому -7, кто на шухере стоял - тому 2 года.
Re: Выбор лезвия к Т-образному станкуАлексанДер,
не в обиду- по твоей фене боюсь даже уточнить, где ты таких юридических тонкостей нахватался... Волхвы не боятся могучих владык,
А княжеский дар им не нужен; Правдив и свободен их вещий язык И с волей небесною дружен. А. С. Пушкин. Песнь о вещем Олеге.
Re: Выбор лезвия к Т-образному станкуКак-то раз надоело слышать многозначительный вид при "каждому своё-о", когда речь идёт о фломастерах/выборе человека. Начали терзать смутные сомнения, завёл себе ко)беля и пошурудил им в интернетах.
Подозрения подтвердились. Эта фраза означает противоположное. Наверно люди неправильно прочитали или перевернули значение надписи на элементе ограждения в Бухенвальде.
Re: Выбор лезвия к Т-образному станкуАлек Михайлов, Рапира мне тоже нравится, а Спутник ругают старую версию. В прошлом году изменили угол заточки лезвия и что-то в составе покрытия. Теперь Спутник бреет мягко и чисто, а покрытие не вызывает у меня аллергии.
Aquilla non capitat muscas.
Re: Выбор лезвия к Т-образному станкуОни же стандартизированны. По геометрии и углам. Нет разве?
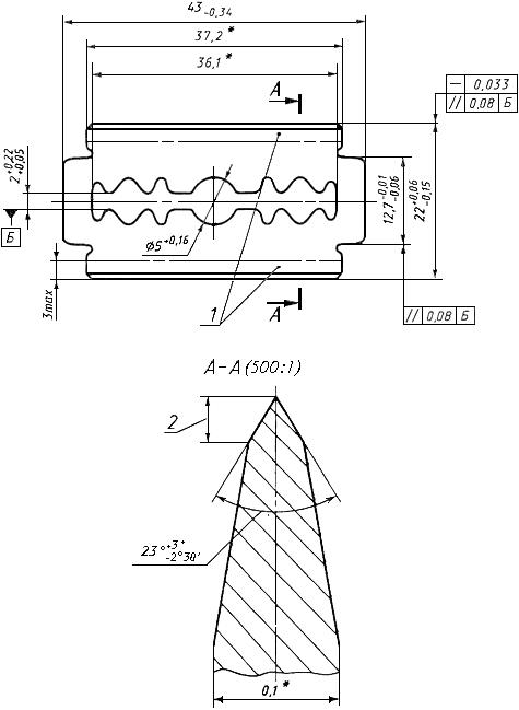
Re: Выбор лезвия к Т-образному станкуЗдесь выкладывали специальный ГОСТ по лезвиям, не помню в какой теме, при желании можно прогуглить. По-моему, угол 24 градуса должен быть. Только кто сейчас те ГОСТы соблюдает?
Это к Tihohod обращаться нужно, он спец по данному вопросу. Волхвы не боятся могучих владык,
А княжеский дар им не нужен; Правдив и свободен их вещий язык И с волей небесною дружен. А. С. Пушкин. Песнь о вещем Олеге.
Re: Выбор лезвия к Т-образному станкуУ каждого лезвия свой угол заточки. Тот же Бик Хром Платинум к примеру. Намного острее чем Спутник и Рапира. Также толщина самого лезвия может быть разной.
Aquilla non capitat muscas.
Re: Выбор лезвия к Т-образному станкуНасчет Спутника- брился им позавчера в шаветке, попа младенца, раздражения нет. Двое суток вот, бриться завтра буду.
Волхвы не боятся могучих владык,
А княжеский дар им не нужен; Правдив и свободен их вещий язык И с волей небесною дружен. А. С. Пушкин. Песнь о вещем Олеге. Re: Выбор лезвия к Т-образному станкуПо толщине этой фольги, да. Физер 0,06 мм, а остальное практически стандартно 0,08 мм. О самодеятельности с углами впервые слышу. Впрочем не интересовался специально.
Re: Выбор лезвия к Т-образному станкуГОСТ Р 51243-99. Бритвенные системы для влажного бритья. Общие технические условия
ГОСТ Р 51243-99 Группа У23 ГОСУДАРСТВЕННЫЙ СТАНДАРТ РОССИЙСКОЙ ФЕДЕРАЦИИ БРИТВЕННЫЕ СИСТЕМЫ ДЛЯ ВЛАЖНОГО БРИТЬЯ Волхвы не боятся могучих владык,
А княжеский дар им не нужен; Правдив и свободен их вещий язык И с волей небесною дружен. А. С. Пушкин. Песнь о вещем Олеге. Re: Выбор лезвия к Т-образному станкуТут о Спутнике много чего написали. Кто-то из камрадов может сфоткать упаковку нового НАСТОЯЩЕГО Спутника? Это было б здорово. А то ум за разум заходит от обилия Спутников шанхайских.
Re: Выбор лезвия к Т-образному станкуЕсть подозрения что среди этих 12 точно нет Персоны израильской, зелёной Астры Питерской, а наверно и Шика с Фезером. Я к тому что и правда хочется увидеть новый Спутник
Re: Выбор лезвия к Т-образному станкуПерсонну пока не пробовал, видел в интернет-магазинах, правда цены кусаются. Зеленой Астры у меня в тумбочке 2 пачки лежит, на рынке купил, моей коже зашла на так себе; Шик тоже есть, его навалом на рынках, он у нас сейчас продается под названием Уилкинсон Сворд. Физера хватает в продаже в интернет-магазинах, покупать не хочу- если моей коже заведомо подходит "Рапира", тратиться на одни из самых острых лезвий в мире (если не самые острые) не вижу смысла.
Волхвы не боятся могучих владык,
А княжеский дар им не нужен; Правдив и свободен их вещий язык И с волей небесною дружен. А. С. Пушкин. Песнь о вещем Олеге.
Re: Выбор лезвия к Т-образному станкуУпаковка двухгодичной давности. Не думаю, чтобы поменялась за это время. Снимал телефоном. Нормальные лезвия, мне хватает раз на 10 Re: Выбор лезвия к Т-образному станкуодного лезвия? кто понял жизнь,работать бросил
Re: Выбор лезвия к Т-образному станкуОсип, ну да, одного.
Re: Выбор лезвия к Т-образному станкуramboll, спасибо за фото.
Re: Выбор лезвия к Т-образному станкуВчера попробовал Treet Platinum- на удивление впечатления от пакистанского лезвия оказались самые приятные и положительные. У меня вообще проблема с подбором лезвий, кожа чувствительная очень. Обычно была такая закономерность- чем острее лезвия, тем они агрессивнее. Поэтому брал заведомо самые тупые- типа Рапиры и Спутника. Пусть не так чисто сбреет, зато и шкурку не покоцает.
Пакистанское лезвие побрило на уровне примерно средне между зеленой Астрой и желтым Биком по остроте, но без абсолютно какой бы то ни было агрессии. Очень хорошее соотношение- очень острое, но при этом очень мягкое. В одном из наших интернет-магазинов они идут как разработанные именно для чувствительной кожи и жесткой щетины (http://leza-shaving.com/ru/blades/treet-platinum-blades" onclick="window.open(this.href);return false;). На горле сделал стандартные для меня 2 прохода по росту волос, а линию бороды на щеках, подбородке и над усами подсвежил вообще одним- причем получилось чище, чем после двух проходов Рапирой. Я, конечно, ни в коем случае не призываю- товарищи, переходите все срочно на Трит. Просто описал свои субъективные впечатления. Всё индивидуально,и прислушиваться надо не к чужому мнению и рекламе из интернета, а исключительно к состоянии своих щетины и кожи после их употребления. Дал пару штук товарищу на пробу, ему "не зашло"- по его словам, зеленая Астра приятнее для его кожи... Использовалось в шаветте. Волхвы не боятся могучих владык,
А княжеский дар им не нужен; Правдив и свободен их вещий язык И с волей небесною дружен. А. С. Пушкин. Песнь о вещем Олеге. Re: Выбор лезвия к Т-образному станкуАлек МихайловХорошие лезвия,мне то же понравились.
Кто сейчас на конференцииСейчас этот форум просматривают: нет зарегистрированных пользователей и 6 гостей | |
|
|
|
|
||||||||||||||||||||||||||||||||||||

